400-109-9595
股票代码:
300466
中文
English
联系我们
联系方式
在线留言
投资者关系
公司概况
最新公告
定期报告
股东股本
工业互联网
互联网+安全生产
设备物联网
私有云平台
协同制造
金融管理
关于我们
公司简介
集团成员
客户支持
内部支持
历史沿革
荣誉资质
人才招聘
合作伙伴
新闻与资讯
公司新闻
党建文化
创新技术
员工天地
行业新闻
行业解决方案
火电行业
燃料智能化
互联网+安全生产
经营管控与价值寻优
运营中心管控平台
煤炭及港口行业
智慧煤炭物流园
燃料智能化管控
散料高精度称重
绿色运输
钢铁焦化行业
原料智能化管控
散料高精度称重
生产自动化配料
绿色运输
水泥建材行业
绿色运输
原料智能化管控
散料高精度称重
生产自动化配料
新能源
智慧风电
智慧水电
智慧光伏
绿色交通
化工行业
安全生产管理
物料全流程管理
高精度称重与配料
包装与仓储自动化
食品医药行业
原奶送样气动传输
食品行业解决方案
医药行业解决方案
制药行业解决方案
粮食行业解决方案
医院与实验室
智慧医院物流系统
医美/医疗设备管理
智慧实验室物流
汽车与机械行业
智能工厂整体规划实施
智能物流与仓储
信息化管控系统
产品中心
装备智能
计量产品
电子皮带秤
称重给煤机
称重给料机/配料秤
互联网+称重
皮带秤校验装置
检测产品
全自动采样装置
煤样封装与转运系统
机器人制样系统
机器人分析系统
输送机保护装置
燃料智能化
燃料智能化系统
全自动采样系统
样品自动转运系统
机器人制样系统
机器人化验系统
自动化包装
AI多维智能整理机
投料拆包系统
包装系统
在线检重秤
码垛系统
智能物流
自动化立体仓库
AGV/RGV小车
物流车辆调度系统
自动装车系统
气动/轨道传送系统
工业机器人
巡检机器人
码垛机器人
移动机器人(AGV)
喷涂机器人
换电机器人
工厂数字化
MES制造执行系统
MOM制造运营管理
FMS工厂自动化系统
WMS仓储管理系统
物料全流程管控系统
生产自动化
智能装配线
智能焊接线
智能喷涂线
智能生产线
机器视觉检测线
工业互联网
设备管理平台
互联网+安全生产
能碳管理平台
智慧化工园区
SaaS 应用定制开发
新能源
重卡换电系统
新能源发电数字化
新能源发电数字化
锂电池产线自动化
工程机械移动补能
首页
公司概况
最新公告
定期报告
股东股本
金融管理
装备智能
计量产品
电子皮带秤
称重给煤机
称重给料机/配料秤
互联网+称重
皮带秤校验装置
检测产品
全自动采样装置
煤样封装与转运系统
机器人制样系统
机器人分析系统
输送机保护装置
燃料智能化
燃料智能化系统
全自动采样系统
样品自动转运系统
机器人制样系统
机器人化验系统
自动化包装
AI多维智能整理机
投料拆包系统
包装系统
在线检重秤
码垛系统
工厂数字化
MES制造执行系统
MOM制造运营管理
FMS工厂自动化系统
WMS仓储管理系统
物料全流程管控系统
工业机器人
巡检机器人
码垛机器人
移动机器人(AGV)
喷涂机器人
换电机器人
生产自动化
智能装配线
智能焊接线
智能喷涂线
智能生产线
机器视觉检测线
工业互联网
设备管理平台
互联网+安全生产
能碳管理平台
智慧化工园区
SaaS 应用定制开发
新能源
重卡换电系统
新能源发电数字化
新能源发电数字化
锂电池产线自动化
工程机械移动补能
过程智能
智能物流
自动化立体仓库
AGV/RGV小车
物流车辆调度系统
自动装车系统
气动/轨道传送系统
经营智能
火电行业
燃料智能化
互联网+安全生产
经营管控与价值寻优
运营中心管控平台
煤炭及港口行业
智慧煤炭物流园
燃料智能化管控
散料高精度称重
绿色运输
钢铁焦化行业
原料智能化管控
散料高精度称重
生产自动化配料
绿色运输
水泥建材行业
绿色运输
原料智能化管控
散料高精度称重
生产自动化配料
新能源
智慧风电
智慧水电
智慧光伏
绿色交通
化工行业
安全生产管理
物料全流程管理
高精度称重与配料
包装与仓储自动化
食品医药行业
原奶送样气动传输
食品行业解决方案
医药行业解决方案
制药行业解决方案
粮食行业解决方案
医院与实验室
智慧医院物流系统
医美/医疗设备管理
智慧实验室物流
汽车与机械行业
智能工厂整体规划实施
智能物流与仓储
信息化管控系统
公司新闻
党建文化
创新技术
员工天地
行业新闻
公司概况
最新公告
定期报告
股权股本
公司简介
集团成员
客户支持
内部支持
历史沿革
核心技术
实力展示
荣誉资质
人才招聘
合作伙伴
联系方式
在线留言
智能制造
智能工厂
产品中心
行业解决方案
新闻与资讯
关于我们
联系我们
首页
> 产品中心
产品中心
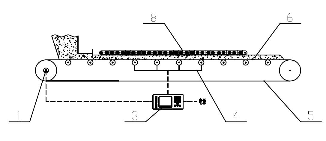
物料码校准技术
计量产品
电子皮带秤
称重给煤机
称重给料机/配料秤
互联网+称重
皮带秤校验装置
检测产品
全自动采样装置
煤样封装与转运系统
机器人制样系统
机器人分析系统
输送机保护装置
燃料智能化
燃料智能化系统
全自动采样系统
样品自动转运系统
机器人制样系统
机器人化验系统
自动化包装
AI多维智能整理机
投料拆包系统
包装系统
在线检重秤
码垛系统
智能物流
自动化立体仓库
AGV/RGV小车
物流车辆调度系统
自动装车系统
气动/轨道传送系统
工厂数字化
MES制造执行系统
MOM制造运营管理
FMS工厂自动化系统
WMS仓储管理系统
物料全流程管控系统
工业机器人
巡检机器人
码垛机器人
移动机器人(AGV)
喷涂机器人
换电机器人
生产自动化
智能装配线
智能焊接线
智能喷涂线
智能生产线
机器视觉检测线
工业互联网
设备管理平台
互联网+安全生产
能碳管理平台
智慧化工园区
SaaS 应用定制开发
新能源
重卡换电系统
新能源发电数字化
新能源发电数字化
锂电池产线自动化
工程机械移动补能
产品介绍
采用挂码、链码、循环链码叠加物料的方式可以补偿皮带张力及皮带软硬度对称量精度的影响,提高使用精度。
应用案例